ZJHJ气动薄膜角式调节阀

- 销售:
- 销售:
- 传真:
详情介绍
- 产品介绍
- 服务承诺
- 订货流程
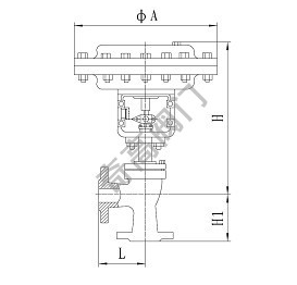
ZJHJ气动薄膜角型调节阀采用顶部导向结构,实现对压力、流量、温度、液位等参数的调节。具有体积小、重量轻、泄漏量少、流路简单、阻力小,使用于高压差、高粘度、含有悬浮物和颗粒状物质液体的调节,可以避免结焦,堵塞,也便于自洁和水清洗,角型阀一般使用于底进侧出的场合,因为这样可使调节有较好的稳定性。
阀体部分
阀体型式:铸造角型阀
公称通径:DN25 、32 、40 、50 、65 、80 、100 、125、150、200
公称压力:PN 1.6、2.5、4.0、6.4、10Mpa
ANSI 150、300、 600Lb
JIS 10K、20K、30K
连接方式:法兰: FF、RF、RTJ、等
焊接:SW、BW
法 兰 距:符合IEC 534
阀盖形式:标准型、加长型(散热、低温、波纹管密封)
填 料:V型聚四氟乙烯、柔性石墨填料等
密 封 垫:金属夹石墨密封垫
执行机构:气动:薄膜多弹簧执行机构气开式、气关式 、双作用气缸式执行机构
电动:普通型381L PSL、防爆型381L系列
定位器:电气阀门定位器、智能型数字定位器
附 件:电磁阀、阀位反馈器、手操机构、保位阀、空气过滤减压器等
阀内部件
阀芯型式:单座、套筒型阀芯
流量特性:等百分比、线性 、快开
内件材质:标准材质组合及使用温度、压力范围请参阅附录
阀体材质:WCB、WC9、CF8、CF8M等
阀盖材质:WCB、WC9、CF8、CF8M
阀芯材质:304、304+STL/PTFE、316、316+STL/PTFE
填料材质:“V”型PTFE、 柔性石墨、波纹管
主要外形尺寸
公称通径 DN(mm) | L(mm) | H1( mm) | H(mm) | ØA | |
1.6、2.5(MPa) | 常温 | 中温 | |||
20 | 100 | 100 | 349 | 444 | 285 |
25 | 115 | 115 | 350 | 445 | 285 |
32 | 130 | 130 | 358 | 458 | 285 |
40 | 130 | 130 | 378 | 478 | 285 |
50 | 150 | 150 | 393 | 493 | 285 |
65 | 170 | 170 | 494 | 594 | 360 |
80 | 190 | 190 | 503 | 628 | 360 |
100 | 215 | 215 | 521 | 646 | 360 |
125 | 250 | 250 | 634 | 759 | 360 |
150 | 275 | 275 | 696 | 846 | 470 |
200 | 325 | 325 | 715 | 915 | 470 |
良好的品质、优良的服务 南京鑫宇咖啡饮品有限公司为你创造更多价值!
“南京鑫宇咖啡饮品有限公司”的期望,不断提升服务质量,精益求精,“真诚的服务”是“南京鑫宇咖啡饮品有限公司”永恒的主题。“南京鑫宇咖啡饮品有限公司”严格按照IS09001-2000 质量体系认证要求,质量严格把关, 责任到人,确保生产、销售、服务的健康运行。加强与用户沟通,竭诚为广大客户提供优良产品,至善至美服务。特此我厂做出以下承诺:
产品标准:
产品严格按照中国GB、HG 标准和美国API等标准设计、制造、验收。密封面硬度达到国家规定要求,宽度超过国家标准。
售前服务:
产品介绍,技术交流,非标产品设计,疑难解答。
售中服务:
守信合同,保证及时供货,随时保持与客户联系。 对特殊或复制的产品,我厂安排技术人员对用户进行产品使用、故障排除
售后服务:
1、“南京鑫宇咖啡饮品有限公司”牌产品品质期为自出厂起12个月,实行“三包”服务(包退、包换、保修)。
2、产品在使用中我厂定期组织技术、质检人员进行访问,征询用户对产品质量、 使用状况、改进意见等方面的反馈, 以便进一步提高产品质量。
3、对用户投诉质量问题,快速作出反应,售后服务人员在24-36小时(省外48小时)赶赴现场。
4、对售后服务,要求用户填写服务后的质量反馈信息表,并作出鉴定意见,以便提高南京鑫宇咖啡饮品有限公司的服务质量。
1、客户如对产品有特殊要求,须在订货合同中提供以下说明:
a、结构长度;
b、连接形式;
c、公称直径、全通径、缩径、管道尺寸;
d、运行介质及温度、压力范围;
e、试验、检验标准及其他要求
2、本厂可根据客户特定要求配置各类驱动装置。
3、如由客户提供确定的阀门类型和型号时,客户应正确说明其型号的含义和要求,在供需双方理解一致的条件下签订合同。
4、期货、订货的客户请先来电函详细告诉所需的阀门型号、规格、数量以及交货时间、地点,并按总的30%预定金或全额货款及时汇入我厂帐户,其余货款待发货前汇入,以便及时安排发货。
订单流程:
1、客户采购清单传真至,或来电咨询
2、收到客户采购清单,为客户提供阀门型号选型与报价(价格清单)。
3、具体商定:交货期、特殊要求等事宜。
订货须知:
1、客户如对产品有特殊要求,须在订货合同中提供以下说明:
|
|||||
|
|||||
2、本厂可根据客户特定要求配置各类驱动装置。
|
|||||
3、如由客户提供确定的阀门类型和型号时,客户应正确说明其型号的含义和要求,在供需双方理解一致的条件下签订合同。
|
|||||
4、期货、订货的客户请先来电函详细告诉所需的阀门型号、规格、数量以及交货时间、地点,并按总的30%预定金或全额货款及时汇入我厂账户, 其余货款待发货前汇入,以便及时安排发货。
|
售中服务:
守信合同,保证及时供货,随时保持与客户联系。
对特殊或复制的产品,我厂安排技术人员对用户进行产品使用、故障排除
售后服务:
1、“南京鑫宇咖啡饮品有限公司”产品品质期为自出厂起12个月,实行“三包”服务(包退、包换、保修)。
2、产品在使用中我厂定期组织技术、质检人员进行访问,征询用户对产品质量、使用状况、改进意见等方面的反馈,
以便进一步提高产品质量。
3、对用户投诉质量问题,快速作出反应,售后服务人员在24-36小时(省外48小时)赶赴现场。
4、对售后服务,要求用户填写服务后的质量反馈信息表,并作出鉴定意见,以便提高“南京鑫宇咖啡饮品有限公司”的服务质量。
声明 |
|